Cas client Prototypage Industrialisation Industrie Ergonomie

Mobiway Kart — Réinventer la manutention des tourets de câble

Un chariot qui fait diable et dérouleur, pour les électriciens qui manipulent 200 kg de câble par jour. Développement complet pour Nexans, du concept au marquage CE.

Mobiway Kart — Rendu 3D du chariot dérouleur de tourets
Mobiway Kart — Croquis 3D avec touret de câble (version Phase 3)

Le problème : 200 kilos de câble à déplacer, tout seul

Demandez à n'importe quel électricien de chantier ce qui lui pose le plus problème dans sa journée. Il y a de bonnes chances que ce soit la même chose : les tourets de câble. Jusqu'à 200 kg par touret, à charger dans la camionnette, à décharger en bas du chantier, à pousser jusqu'au point de déroulage, à stabiliser pendant qu'il déroule le câble sur des dizaines de mètres. Le tout, le dos en avant et en terrain souvent irrégulier.

Nexans, leader mondial des solutions de câblage et groupe du CAC 40, a identifié ce point de douleur dans le quotidien de ses clients. Le groupe veut un outil qui change la donne — mais aucune solution du marché ne combine les deux fonctions essentielles : le transport (comme un diable) et le déroulage sur place (comme un dérouleur fixe). Et tout ça doit rester compact, pliable, utilisable par une personne seule, pensé pour tenir dans une camionnette d'artisan.

Le cahier des charges, construit avec le Design Lab de Nexans et l'analyse fonctionnelle d'Explora :

  • Double fonction transport + déroulage, sans outil de conversion.
  • Compact et pliable, pour s'intégrer au chargement d'un véhicule utilitaire.
  • Utilisable par une seule personne, sans effort excessif, sur terrain irrégulier.
  • Certifié CE, avec un cadre normatif à construire — aucune norme spécifique n'existe pour ce type de chariot.
Contexte : test utilisateur terrain

↳ Les outils du quotidien sont souvent mal aimés en R&D. Pourtant, c'est là que le gain d'ergonomie se transforme directement en qualité de vie pour celui qui les utilise.

Le travail d'Explora : quatre prototypes, cent brevets passés au crible

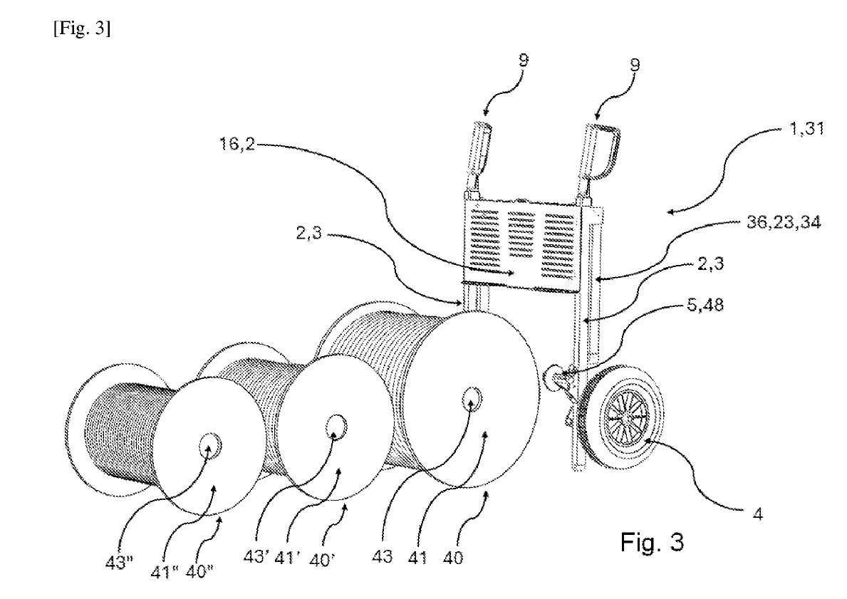
On démarre sur un proof of concept interne Nexans, qu'on fait évoluer. Dès la deuxième itération, une idée émerge : un piston à ressort pour la saisie automatique du touret, sans outil. Concept identifié comme brevetable, on le protège. Un bloc roues multifonction regroupe ensuite cinq fonctions sur un seul sous-ensemble : rotation du touret, béquilles de stabilisation, piston de saisie, roulette avant de déplacement, bascule marche-pied. Moins de pièces, plus d'ergonomie.

Avant chaque évolution, une cartographie PatentX : plus de 100 brevets analysés pour vérifier la liberté d'exploitation et identifier les voies ouvertes. Le châssis est modélisé sous SolidWorks en tubulaire rond mécanosoudé, puis validé par simulation éléments finis

Pour la certification, aucune norme ne couvre précisément ce type d'outil. On construit un cadre normatif composite à partir de cinq normes combinées (Directive Machine 2006/42/CE, EN-1757, ISO 12100, NF X35-109, REACH), validé par une AMDEC CE complète menée bout à bout.

Quatre générations de prototypes plus tard, la supply chain est mise en place pour la production série — soudure robot, outillage dédié, qualité industrielle.

Le résultat : un produit qui n'existait pas, prêt à être fabriqué

Le Mobiway Kart quitte l'atelier en version industrialisable : certifié CE, doté de deux concepts brevetables proposés à Nexans (piston à ressort et bloc roues multifonction), et pré-équipé pour accueillir les évolutions futures. Nexans dispose d'un produit différencié dans sa gamme premium, avec perspective de croissance, devenant un fournisseur de solution pour les professionnels.

Deux ans de développement complet, de A à Z, pour un groupe du CAC 40 : du concept à la certification CE, en passant par quatre prototypes, une Project Review terrain, une veille brevet dense, et l'identification d'une supply chain Made in France. C'est ce qu'on appelle un projet intense.

↳ Un outil qui facilite le travail de celui qui le tient dans les mains, c'est déjà un bon critère de succès.

4
générations de prototypes
100+
brevets analysés (PatentX)
100%
tests APAVE validés (marquage CE)

Vous développez un outil professionnel ou un chariot spécialisé ?

↳ « Du concept au marquage CE, nous industrialisons vos idées. »

Premier échange gratuit et sans engagement.